HIF-TS 접합형 이음관 / HI-VG2 이음관
접합형 공통치수
 |
단위(mm)
호칭 지름 |
d1 |
d2 |
l |
| 기본치수 |
허용차 |
기본치수 |
허용차 |
기본치수(최소) |
| 50 |
60.35 |
±0.30 |
59.75 |
±0.30 |
24 |
| 65 |
76.40 |
±0.30 |
75.70 |
±0.30 |
34 |
| 75 |
89.45 |
±0.30 |
88.65 |
±0.30 |
38 |
| 100 |
114.55 |
±0.35 |
113.55 |
±0.35 |
48 |
| 125 |
140.70 |
±0.40 |
139.40 |
±0.40 |
63 |
| 150 |
165.85 |
±0.45 |
164.25 |
±0.45 |
78 |
| 200 |
217.30 |
±0.55 |
214.70 |
±0.55 |
105 |
|
90°단곡관(DL)
 |
단위(mm)
| 호칭지름 |
Z |
L |
| 100 |
62 |
112 |
| 150 |
88 |
168 |
| 200 |
126 |
232 |
|
45°단곡관(45°L)
 |
단위(mm)
| 호칭지름 |
Z |
L |
| 100 |
30 |
80 |
| 150 |
44 |
124 |
| 200 |
56 |
171 |
|
22.5°단곡관(22.5°L)
 |
단위(mm)
| 호칭지름 |
Z |
L |
| 100 |
28 |
78 |
| 150 |
33 |
124 |
|
11.25°단곡관(11.25°L)
 |
단위(mm)
| 호칭지름 |
Z |
L |
| 100 |
11 |
61 |
| 150 |
17 |
97 |
|
정T단관(DT)
 |
단위(mm)
| 호칭지름 |
Z1 |
Z2 |
Z3 |
L1 |
L2 |
L3 |
| 100 |
62 |
63 |
62 |
112 |
113 |
112 |
| 150 |
88 |
89 |
88 |
168 |
169 |
168 |
| 200 |
109 |
110 |
109 |
214 |
215 |
214 |
|
YT관(LT)
 |
단위(mm)
| 호칭지름 |
Z1 |
Z2 |
Z3 |
L1 |
L2 |
L3 |
| 100 |
128 |
45 |
128 |
178 |
95 |
178 |
| 150 |
165 |
74 |
152 |
245 |
154 |
232 |
| 200 |
185 |
110 |
190 |
285 |
210 |
291 |
|
이경YT관(LT)
 |
단위(mm)
| 호칭지름 |
Z1 |
Z2 |
Z3 |
L1 |
L2 |
L3 |
| 150x100 |
128 |
53 |
152 |
208 |
133 |
202 |
| 200x100 |
108 |
56 |
148 |
222 |
170 |
197 |
| 200x150 |
134 |
78 |
174 |
253 |
191 |
253 |
|
45°관(45°Y)
 |
단위(mm)
| 호칭지름 |
Z1 |
Z2 |
Z3 |
L1 |
L2 |
L3 |
| 100 |
32 |
134 |
144 |
82 |
184 |
194 |
| 150 |
41 |
196 |
209 |
121 |
276 |
289 |
|
소켓(DS)
 |
단위(mm)
| 호칭지름 |
L |
Z |
| 100 |
103 |
3 |
| 150 |
161 |
3 |
| 200 |
213 |
3 |
|
이경소켓(IN)
 |
단위(mm)
| 호칭지름 |
Z |
L |
| 100x50 |
30 |
105 |
| 100x65 |
30 |
115 |
| 100x75 |
30 |
120 |
| 125x100 |
35 |
150 |
| 150x100 |
40 |
170 |
| 200x100 |
42 |
300 |
| 200x150 |
46 |
316 |
|
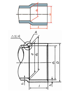
소제구(CO)
 |
단위(mm)
| 호칭지름 |
D |
d |
t |
L |
I |
| 50 |
60±0.4 |
60±0.5 |
2.0 |
40 |
20 |
| 100 |
114±0.8 |
112±0.7 |
3.5 |
84 |
52 |
|